Иллюстрации к патенту
2631182
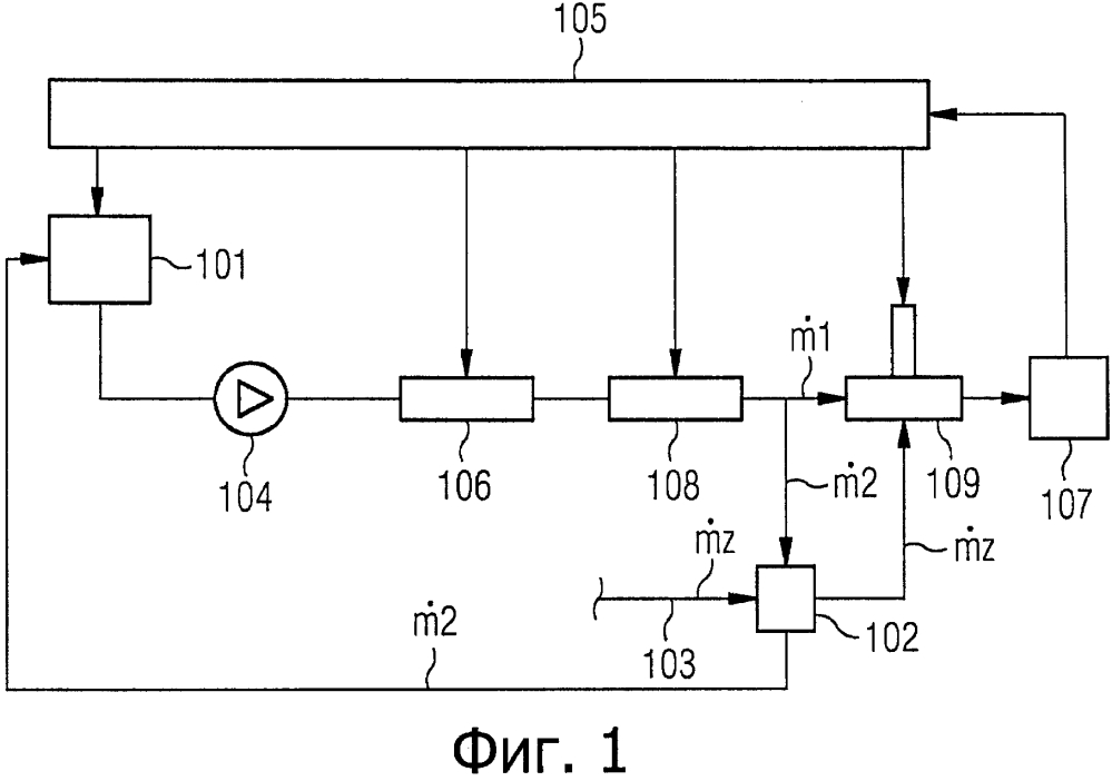
Процесс предварительного нагревания свежей воды в паротурбинных электростанциях с отводом технологического пара