PatentDB.ru — поиск по патентным документам

Иллюстрации к патенту 2631182

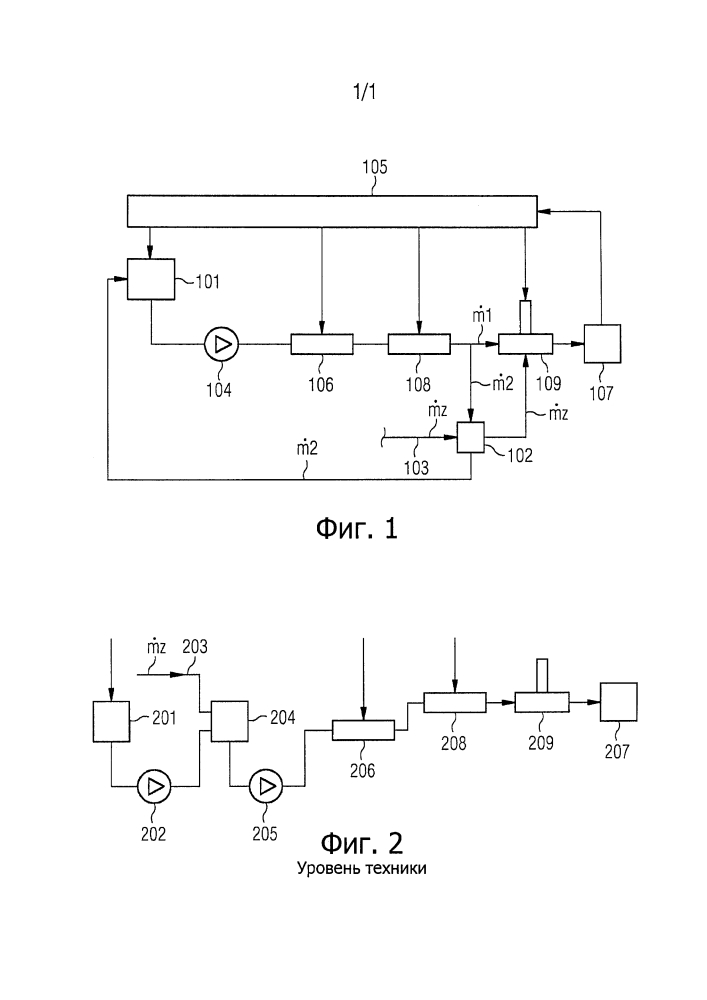
Процесс предварительного нагревания свежей воды в паротурбинных электростанциях с отводом технологического пара

Процесс предварительного нагревания свежей воды в паротурбинных электростанциях с отводом технологического пара (патент 2631182)