PatentDB.ru — поиск по патентным документам

Иллюстрации к патенту 390217

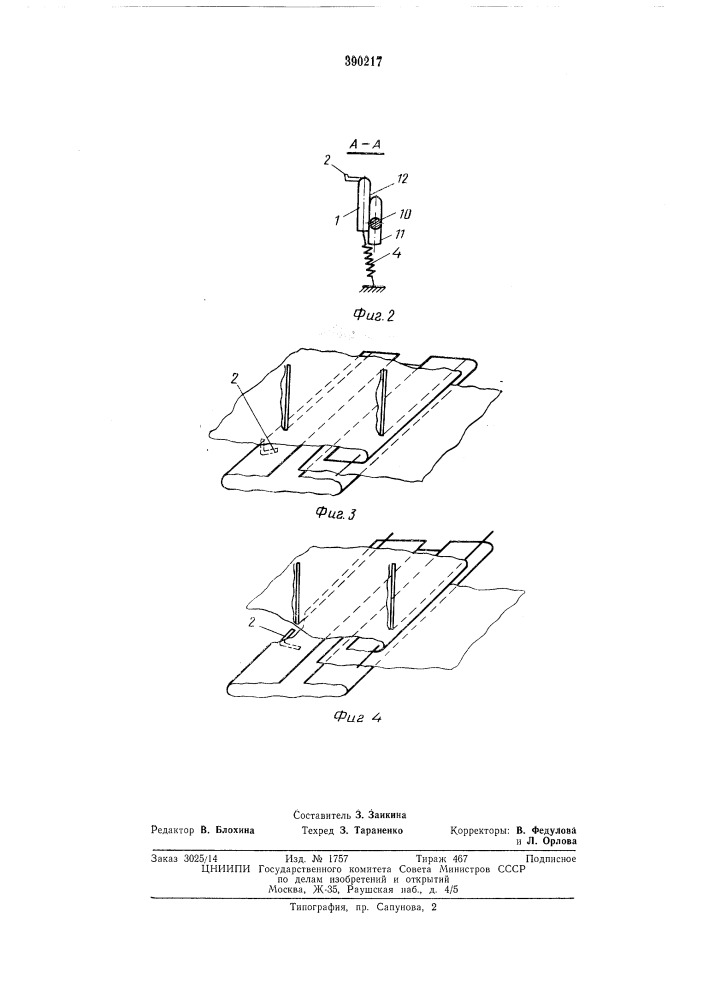
Приспособление для отвода настрачиваемой детали от иглы швейной машины

Приспособление для отвода настрачиваемой детали от иглы швейной машины (патент 390217)