PatentDB.ru — поиск по патентным документам

Иллюстрации к патенту 2653317

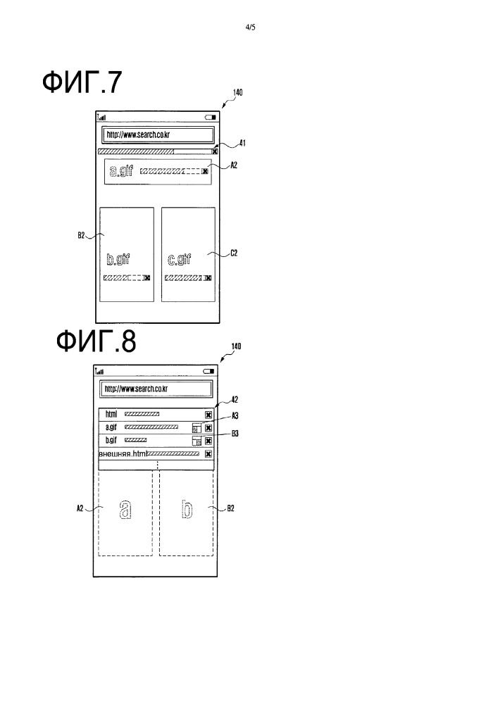
Прием серверной страницы на основе объекта в электронном устройстве

Прием серверной страницы на основе объекта в электронном устройстве (патент 2653317)