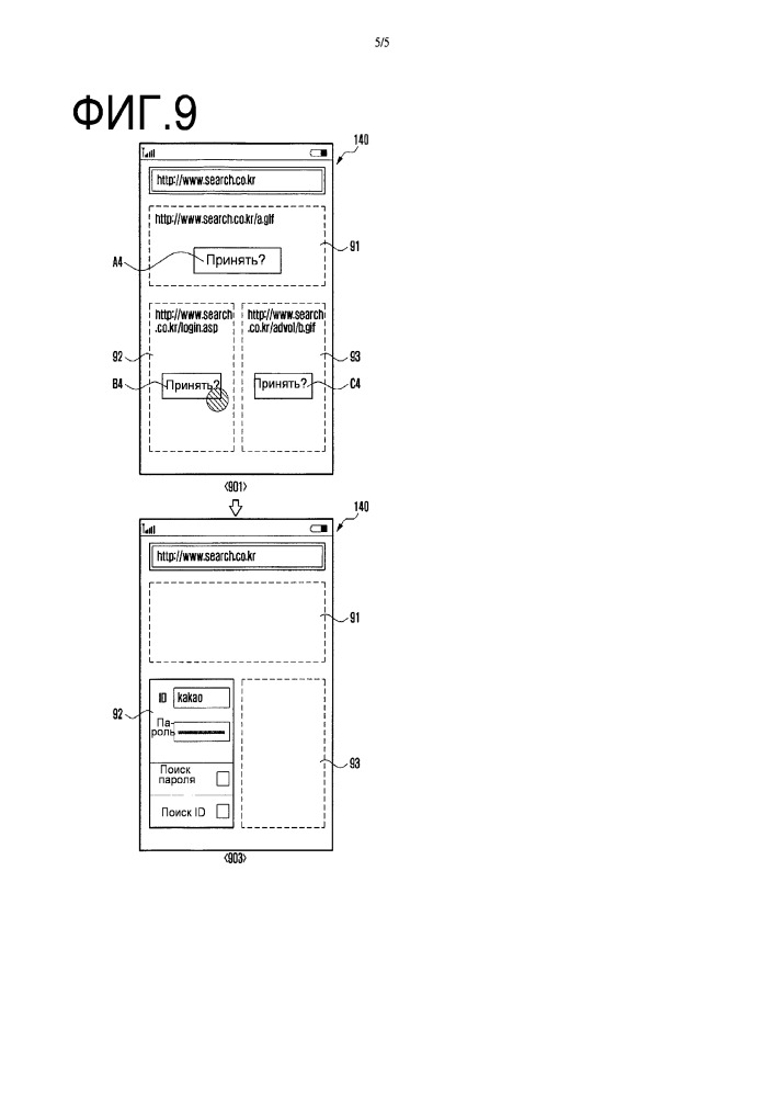
Иллюстрации к патенту
2653317
Прием серверной страницы на основе объекта в электронном устройстве