PatentDB.ru — поиск по патентным документам

Иллюстрации к патенту 2657023

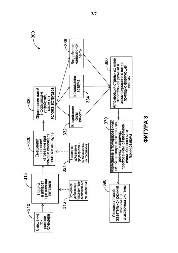
Способ и устройство для изготовления жевательной резинки и жевательная резинка

Способ и устройство для изготовления жевательной резинки и жевательная резинка (патент 2657023)