PatentDB.ru — поиск по патентным документам

Иллюстрации к патенту 2664621

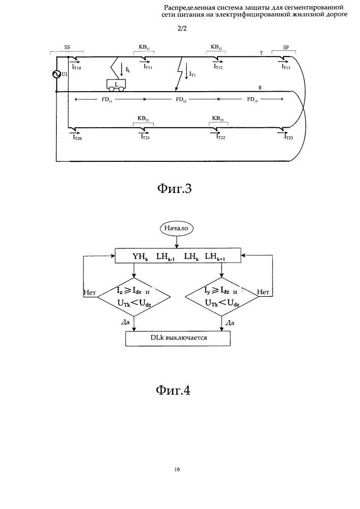
Распределенная система защиты для сегментированной сети питания на электрифицированной железной дороге

Распределенная система защиты для сегментированной сети питания на электрифицированной железной дороге (патент 2664621)