PatentDB.ru — поиск по патентным документам

Иллюстрации к патенту 2666825

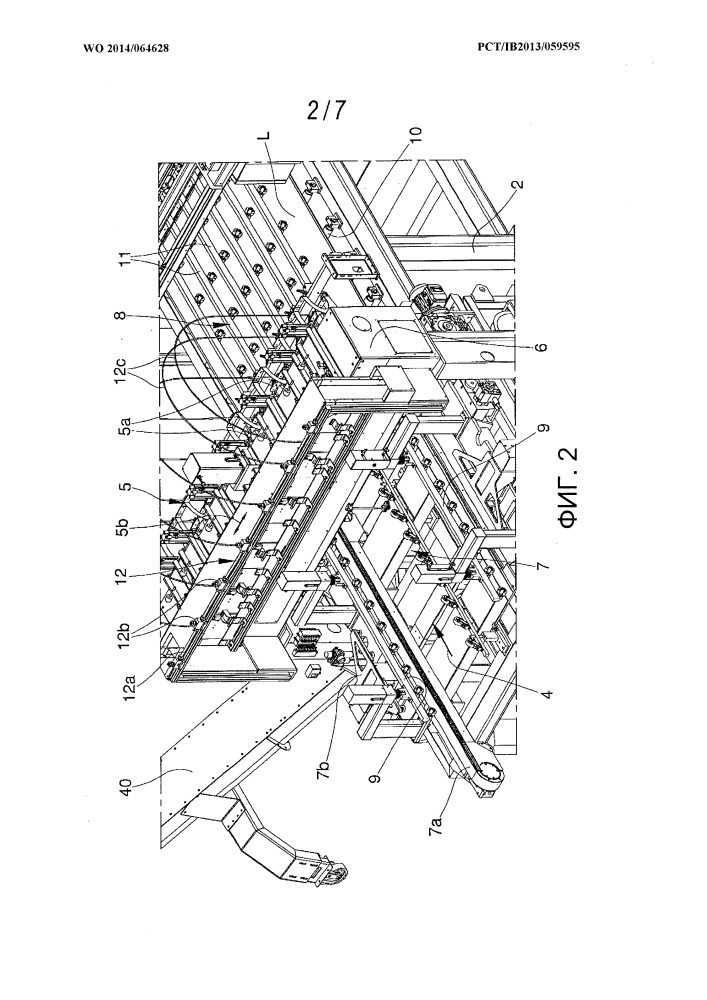
Оборудование для резки плит из керамического материала

Оборудование для резки плит из керамического материала (патент 2666825)