Устройство и способ разделения материалов
Иллюстрации
Показать всеИзобретение относится к устройству и способу разделения материалов, в частности монокристаллов. Техническим результатом является эффективная очистка и удаление снятого материала во время разрезания. Для этого устройство содержит режущий диск с концентрическим отверстием, край которого образует режущую кромку, при этом режущий диск выполнен с возможностью вращения вокруг его центральной оси с целью разрезания материала, позиционирующее устройство, предназначенное для позиционирования материала, подлежащего разрезанию, относительно режущего диска таким образом, что во время разрезания режущий диск перемещается через материал, совершая вращательное движение, для отрезания отдельной пластины, устройство для подачи смазочно-охлаждающей жидкости на режущий диск, и устройство для подачи газообразной среды на режущий диск. Причем устройство для подачи газообразной среды имеет сопло, которое установлено внутри концентрического отверстия и сконструировано таким образом, что газообразная среда подается на кромку в направлении, перпендикулярном центральной оси режущего диска. Способ включает подачу смазочно-охлаждающей жидкости только на выходной стороне, если смотреть в направлении вращения, за местом прохода режущего диска через материал. При этом режущий диск охлаждают во время операции разрезания и очищают только после операции разрезания, после того как отдельная пластина была отрезана при операции разрезания. Причем во время охлаждения смазочно-охлаждающую жидкость подают в определенном количестве, а во время очистки смазочно-охлаждающую жидкость подают в большем количестве по сравнению с указанным определенным количеством. 4 н. и 8 з.п. ф-лы, 6 ил.
Реферат
Изобретение относится к устройству и способу разделения материалов, в частности монокристаллов.
Разрезание внутренней режущей кромкой (inner hole cutting) представляет собой известный способ разделения монокристаллов, который используется, в частности, для изготовления полупроводниковых пластин. Фиг.1 представляет собой схематичное изображение разрезания монокристалла 1 внутренней режущей кромкой, при этом монокристалл 1 виден на виде в плане в направлении центральной продольной оси М. Как можно видеть на фиг.1, монокристалл 1, который имеет по существу цилиндрическую структуру с центральной продольной осью М, установлен на кристаллодержателе, который не показан и вместе с которым монокристалл может быть смещен в направлении, перпендикулярном центральной продольной оси М, с помощью подающего устройства, которое не показано. Чтобы отделить или отрезать полупроводниковые пластины, предусмотрен режущий диск 2, который состоит из центрального металлического листа 2а, имеющего концентрическое внутреннее отверстие, край 3 которого, окружающий внутреннее отверстие, «занят» алмазными частицами и тем самым образует режущую кромку. Ширина центрального металлического листа между его наружным краем и его внутренним краем превышает диаметр монокристалла, и по этой причине на фигуре схематично изображен только внутренний край. С помощью привода режущий диск 2 может быть приведен во вращение вокруг его центральной оси R в направлении А, показанном на фиг.1. Режущий диск и монокристалл расположены друг относительно друга таким образом, что ось R вращения режущего диска и центральная продольная ось М монокристалла 1 проходят параллельно друг другу на некотором расстоянии друг от друга. Кроме того, посредством подающего устройства монокристалл 1 может быть смещен перпендикулярно к его центральной оси М в направлении режущего диска 2 таким образом, что при вращении режущий диск прорезает монокристалл 1 полностью в плоскости, перпендикулярной его центральной продольной оси М, и может быть перемещен в сторону от режущего диска 2 в положение, в котором отделенная полупроводниковая пластина может быть удалена.
Внутри по отношению к кромке 3 режущего диска 2, окружающей внутреннее отверстие, перед положением Р1 в направлении А вращения, в котором режущий диск входит в монокристалл 1 и которое ниже названо входной стороной, предусмотрено устройство 4 для подачи смазочно-охлаждающей жидкости, предназначенное для подачи смазочно-охлаждающей жидкости на режущую кромку. За положением Р2 в направлении А вращения, в котором режущий диск выходит из монокристалла 1 и которое названо ниже выходной стороной, предусмотрено второе устройство для подачи смазочно-охлаждающей жидкости. В процессе работы перед вводом режущего диска 2 в монокристалл 1 смазочно-охлаждающую жидкость подают на режущую кромку или на режущий диск 2 посредством подающего устройства 4, после чего благодаря вращению режущего диска 2 смазочно-охлаждающая жидкость перемещается в зазор, образующийся при разрезании. Когда режущий диск 2 выходит из монокристалла 1, смазочно-охлаждающая жидкость подается еще раз с помощью второго подающего устройства 5, так что обеспечивается очистка и удаление снятого материала через образованный при разрезании зазор. В смазочно-охлаждающую жидкость добавляют присадки, которые уменьшают поверхностное натяжение и таким образом способствуют улучшению смачивания режущего диска. Известное устройство дополнительно содержит устройство для промывки центрального металлического листа и зажимной системы через определенные промежутки времени.
Существует проблема, связанная с известным устройством и заключающаяся в том, что эффективная очистка и удаление снятого материала во время разрезания требуют такого большого количества смазочно-охлаждающей жидкости, что образующийся при разрезании зазор становится заполненным смазочно-охлаждающей жидкостью и снятым материалом. В результате этого в случае узких зазоров, образующихся при разрезании, может случиться так, что возникнет контакт между центральным металлическим листом режущего диска 2 и участком полупроводниковой пластины. Участок полупроводниковой пластины притягивается к центральному металлическому листу за счет адгезии, что отрицательно влияет на качество отделенной полупроводниковой пластины. В том случае, когда площади поверхности контакта будут большими, может возникнуть ситуация, когда полупроводниковая пластина будет разорвана. Если, с другой стороны, количество смазочно-охлаждающей жидкости будет слишком малым, ее очищающего и транспортирующего действия уже будет недостаточно. Кроме того, присадки, уменьшающие поверхностное натяжение, приводят к лучшему смачиванию центрального металлического листа, что способствует испарению и высушиванию образующейся при разрезании суспензии на центральном металлическом листе.
Задача изобретения состоит в разработке устройства и способа разрезания монокристалла на полупроводниковые пластины посредством разрезания внутренней режущей кромкой, которые позволяют устранить описанные выше недостатки.
Задача решается посредством устройства согласно пункту 1 или 14 формулы изобретения и способа согласно пункту 8 или 16 формулы изобретения.
Варианты осуществления изобретения описаны в дополнительных пунктах формулы изобретения.
Устройство согласно изобретению и способ согласно изобретению, в частности, обладают преимуществом, заключающимся в том, что во время операции разрезания требуется меньше смазочно-охлаждающей жидкости, чем в известном устройстве. За счет этого осуществляется высококачественное разрезание.
Дополнительные характеристики и используемые на практике отличительные признаки изобретения представлены в описании вариантов осуществления, приведенных в качестве поясняющих примеров со ссылкой на чертежи.
Чертежи показывают:
фиг.1 представляет собой схематичное изображение известного устройства, показанное в плане в направлении продольной оси монокристалла;
фиг.2 представляет собой схематичное изображение варианта осуществления устройства согласно изобретению, показанное в плане в направлении центральной продольной оси монокристалла;
фиг.3 представляет собой схематичное изображение операции охлаждения в способе согласно изобретению;
фиг.4 представляет собой схематичное изображение операции распределения смазочно-охлаждающей жидкости на режущем инструменте перед разрезанием;
фиг.5 представляет собой схематичное изображение операции разрезания; и
фиг.6 представляет собой схематичное изображение операции очистки в способе согласно изобретению.
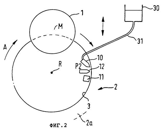
Как можно видеть на фиг.2, на изображении устройства согласно изобретению известным образом предусмотрены кристаллодержатель и подающее устройство для монокристалла 1 вместе с режущим диском 2 с центральным металлическим листом 2а и покрытой алмазными частицами кромкой 3 внутреннего отверстия режущего диска. В отличие от известного устройства устройство согласно изобретению содержит первое подающее устройство 10, которое предназначено для подачи смазочно-охлаждающей жидкости на кромку 3 внутреннего отверстия и на режущий диск 2 и которое, если смотреть в направлении вращения режущего диска 2, предусмотрено на выходной стороне в положении Р2, после места прохода диска через монокристалл 1. Первое подающее устройство 10, предназначенное для подачи смазочно-охлаждающей жидкости, сконструировано, например, в виде сопла. Кроме того, второе подающее устройство 11 для очищающего средства предусмотрено на выходной стороне в зоне внутреннего отверстия. Кроме того, устройство 12, предназначенное для подачи газообразной среды, в частности сжатого воздуха, на режущий диск 2 и, в частности, на кромку 3, аналогичным образом предусмотрено на выходной стороне.
На фиг.3-6 можно видеть иллюстрацию функционирования устройства согласно изобретению и способа согласно изобретению. Перед операцией разрезания или разделения режущий диск 2 и монокристалл 1 отделены друг от друга. Затем монокристалл 1 смещают относительно режущего диска 2, и режущий диск 2 при вращении врезается в материал монокристалла 1 с целью его разрезания. Как показано на фиг.3, во время операции отделения смазочно-охлаждающая жидкость при низкой объемной скорости потока, то есть при низкой скорости v и низком давлении р, подается к краю 3, образующему режущую кромку. Материал, используемый в качестве смазочно-охлаждающей жидкости, представляет собой смазочно-охлаждающую жидкость, содержащую присадку, которая обеспечивает увеличение поверхностного натяжения δ смазочно-охлаждающей жидкости и, следовательно, уменьшение смачивания центрального металлического листа 2а. Результатом этого является плохое смачивание центрального металлического листа 2а режущего диска 2 и образование капель 20 смазочно-охлаждающей жидкости на поверхности центрального металлического листа 2а. Также во время операции разрезания, как показано на фиг.4, сжатый воздух из источника 12 сжатого воздуха выпускается под давлением на кромку 3, в результате чего компенсируется плохое смачивание. Сжатый воздух дополнительно способствует образованию капель 20 и их распределению. Как показано на фиг.5, во время операции разрезания режущий диск 2 проникает внутрь монокристалла 1, при этом кромка 3 и капли 20 смазочно-охлаждающей жидкости, образованные на поверхности центрального металлического листа 2а, проникают внутрь монокристалла 1 для отрезания участка 1а полупроводниковой пластины. Воздух и смазочно-охлаждающая жидкость постоянно подаются под низким давлением р. Во время разрезания капли 20 смазочно-охлаждающей жидкости на центральном металлическом листе 2а абсорбируют снятый материал и обеспечивают распределение его по центральному металлическому листу без высушивания или возникновения контакта с полупроводниковой пластиной.
После операции разрезания монокристалл 1 и отделенную полупроводниковую пластину смещают в сторону от режущего диска 2 посредством подающего устройства так, что режущий диск и монокристалл или отделенная полупроводниковая пластина отделяются друг от друга, как показано на фиг.6. Очистка и удаление материала, скопившегося на центральном металлическом листе и заключенного в каплях 20, выполняются теперь путем подачи сжатого воздуха под высоким давлением р посредством подающего устройства 12 и путем одновременной подачи очищающего средства в достаточном объеме и с относительно высокой скоростью v посредством подающего устройства 11.
Таким образом, способ согласно изобретению представляет собой двухстадийный способ, при котором во время операции разрезания охлаждение режущего инструмента, придание вихревого движения смазочно-охлаждающей жидкости, «инкапсуляция» снятого материала в капли смазочно-охлаждающей жидкости и распределение и удерживание капель смазочно-охлаждающей жидкости, содержащих снятый материал, происходят в результате действия центробежной силы. На второй стадии, после перемещения монокристалла в сторону от режущего диска, выполняют очистку и удаление снятого материала за счет высокого давления воздуха и подачи смазочно-охлаждающей жидкости в достаточном количестве. Очищающее средство, используемое на второй стадии, может быть идентичным смазочно-охлаждающей жидкости, но оно также может представлять собой другое вещество, например, такое как вода. Таким образом, смазочно-охлаждающая жидкость и очищающее средство могут иметь различные свойства.
При использовании способа согласно изобретению для охлаждения и смазки требуется значительно меньше смазочно-охлаждающей жидкости, чем для очистки и удаления снятого материала. Высококачественное разрезание может быть обеспечено только при таком небольшом количестве смазочно-охлаждающей жидкости. Во время реально выполняемой операции разрезания количество смазочно-охлаждающей жидкости задают на уровне минимального количества, требуемого для того, чтобы гарантировать охлаждение и смазку. Образующийся при разрезании зазор является чистым, и при этом избегают контакта между центральным металлическим листом и участком полупроводниковой пластины. Однако во время очистки использование существенно более высокой объемной скорости потока является идеальным решением. Эти требования противоречат друг другу. Соответственно, охлаждение и очистку отделяют во времени друг от друга, поскольку для обеих операций различные объемные скорости потока являются оптимальными.
Вместо подачи сжатого воздуха также можно подавать другой газ, например азот.
В предпочтительном варианте осуществления, как показано на фиг.2, предусмотрен контейнер 30, предназначенный для подачи смазочно-охлаждающей жидкости к подающему устройству 10, которое подает малый объем смазочно-охлаждающей жидкости во время операции разрезания, при этом данный контейнер в рабочем положении расположен на постоянной высоте над подающим устройством 10 и соединен с последним посредством питающей магистрали 31. В контейнере находится смазочно-охлаждающая жидкость, которая подается в подающее устройство 10 по питающей магистрали только под действием силы тяжести или гидростатического давления. Воздушные пузырьки в питающей магистрали перемещаются вверх. Таким образом, гарантируется то, что даже в том случае, когда количества смазочно-охлаждающей жидкости, подлежащей подаче, являются небольшими, гарантируется стабильная подача свободной от пузырьков смазочно-охлаждающей жидкости.
Изобретение пригодно для разрезания различных материалов, например оптического стекла, пластиков и других.
1. Устройство для разрезания материалов, в частности монокристаллов, на отдельные пластины, содержащее режущий диск (2) с концентрическим отверстием, край (3) которого образует режущую кромку, при этом режущий диск (2) выполнен с возможностью вращения вокруг его центральной оси с целью разрезания материала (1), позиционирующее устройство, предназначенное для позиционирования материала (1), подлежащего разрезанию, относительно режущего диска таким образом, что во время разрезания режущий диск перемещается через материал, совершая вращательное движение, для отрезания отдельной пластины (1а), устройство (10) для подачи смазочно-охлаждающей жидкости на режущий диск (2) и устройство (12) для подачи газообразной среды на режущий диск, отличающееся тем, что устройство (12) для подачи газообразной среды имеет сопло, которое установлено внутри концентрического отверстия и сконструировано таким образом, что газообразная среда подается на кромку (3) в направлении, перпендикулярном центральной оси режущего диска (2).
2. Устройство по п.1, отличающееся тем, что устройство (10) для подачи смазочно-охлаждающей жидкости и устройство (12) для подачи газообразной среды расположены таким образом, что смазочно-охлаждающая жидкость и газообразная среда подаются на выходной стороне за местом прохода режущего диска (2) через материал (1).
3. Устройство по п.1 или 2, отличающееся тем, что на выходной стороне предусмотрено устройство (11) для подачи очищающего средства, в частности смазочно-охлаждающей жидкости.
4. Устройство по одному из пп.1-3, отличающееся тем, что устройство (10) для подачи смазочно-охлаждающей жидкости имеет сопло, которое сконструировано таким образом, что смазочно-охлаждающая жидкость подается на кромку (3).
5. Устройство по одному из пп.1-4, отличающееся системой управления, которая приводит в действие устройство (11) для подачи очищающего средства после операции разрезания таким образом, что подается большее количество очищающего средства, в частности смазочно-охлаждающей жидкости, по сравнению с подачей смазочно-охлаждающей жидкости во время операции разрезания.
6. Устройство по одному из пп.1-5, отличающееся тем, что в рабочем положении над устройством (10) для подачи смазочно-охлаждающей жидкости предусмотрен контейнер (30), предназначенный для хранения в нем смазочно-охлаждающей жидкости, который соединен с устройством для подачи смазочно-охлаждающей жидкости посредством трубопровода (31), при этом подача происходит в результате действия силы тяжести.
7. Способ разрезания материала на отдельные пластины, в частности разрезания монокристаллов внутренней режущей кромкой, при котором материал (1) разделяют с помощью режущего диска (2), проникающего в материал за счет вращения во время операции разрезания, подачу смазочно-охлаждающей жидкости осуществляют только на выходной стороне, если смотреть в направлении вращения, за местом прохода режущего диска (2) через материал (1), отличающийся тем, что режущий диск (2) охлаждают во время операции разрезания и очищают только после операции разрезания, после того как отдельная пластина была отрезана при операции разрезания, причем во время охлаждения смазочно-охлаждающую жидкость подают в определенном количестве, а во время очистки смазочно-охлаждающую жидкость подают в большем количестве по сравнению с указанным определенным количеством.
8. Способ по п.7, отличающийся тем, что газообразную среду, в частности сжатый воздух, подают к режущему диску (2).
9. Способ по п.8, отличающийся тем, что, если смотреть в направлении вращения режущего диска, газообразное средство подают после выхода режущего диска из материала.
10. Способ по п.8 или 9, отличающийся тем, что используют смазочно-охлаждающую жидкость, содержащую присадку, которая увеличивает поверхностное натяжение.
11. Устройство для разрезания материалов, в частности монокристаллов, на отдельные пластины, содержащее режущий диск (2) с концентрическим отверстием, край (3) которого образует режущую кромку, при этом режущий диск (2) выполнен с возможностью вращения вокруг его центральной оси с целью разрезания материала (1), позиционирующее устройство, предназначенное для позиционирования материала (1), подлежащего разрезанию, относительно режущего диска таким образом, что во время разрезания режущий диск перемещается через материал, совершая вращательное движение, для отрезания отдельной пластины (1а), устройство (10) для подачи смазочно-охлаждающей жидкости на режущий диск (2), устройство (11) для подачи очищающего средства на режущий диск (2), при этом предусмотрена система управления, которая управляет устройством (10) для подачи смазочно-охлаждающей жидкости и устройством (11) для подачи очищающего средства таким образом, что смазочно-охлаждающая жидкость подается во время операции разрезания и очищающее средство подается только после операции разрезания после того, как отдельная пластина была отрезана при операции разрезания, причем система управления спроектирована таким образом, что смазочно-охлаждающая жидкость подается с низкой объемной скоростью потока и очищающее средство подается с большей объемной скоростью потока по сравнению с объемной скоростью потока смазочно-охлаждающей жидкости.
12. Способ разделения материалов, в частности разрезания монокристаллов, внутренней режущей кромкой, при котором материал (1) разделяют с помощью режущего диска (2), проникающего в материал за счет вращения, причем смазочно-охлаждающую жидкость подают во время операции разрезания и очищающее средство подают после операции разрезания после того, как отдельная пластина была отрезана при операции разрезания, при этом смазочно-охлаждающую жидкость подают с малой объемной скоростью потока и очищающее средство подают с большей объемной скоростью потока по сравнению с объемной скоростью потока смазочно-охлаждающей жидкости.



